Tough Hall sensors aim to replace reed and micro switches
 
Called APS11700 and APS11760, the three pin (power, ground, output) devices have a simple (but protected) open-drain output and can consume as little as 6µA average from an unregulated 3.3-24V supply due to automatic power management.
“Thanks to the APS11700/760’s unique combination of ruggedness and ultra-low power, there is finally a reliable, solid-state upgrade for reed and microswitches, even in the most power-sensitive applications where the sensor will be connected directly to the battery,” claimed Allegro product line director Jim Judkins – that said, reed switches and microswitches consume 0µA.
6µA versions sense every ~160ms on a 0.03% duty cycle. According to the data sheet, 6.6ms 33µA and 1.4ms 110µA types are also available.
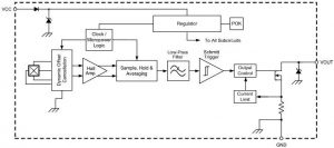
The devices are monolithic and include either a flat (APS11700) or vertical (APS11760) Hall sensor, small-signal amplifier, chopper stabilisation, Schmitt trigger, automatic power management and nmos output transistor.
The vertical Hall sensor comes though the firm’s ‘AVHT’ technology, and senses magnetic flux parallel to the face of the IC package – intended to mimicking the in-plane sensitivity of common reed switches.
APS11700/760 are pre-configured with a choice of magnetic sensitivity, thresholds, and polaritt, and there is also a choice of active-high or active-low output.
Qualification is to AEC-Q100 Grade 0, and they are compliant with ISO 26262:2011 ASIL A when properly applied, making them suitable for automotive and other safety systems.
Voltages up to 40V can be tolerated, as can junction temperature up to 165°C.
Protection against over-voltage, reverse-battery, load-dump, output short-circuit and human-body-model ESD to ±11kV is included.
 Packaging is SOT-23W surface-mount or 3pin mini single in-line package for through-hole mounting – both are Pb-free with 100% matt-tin frame plating.
Packaging is SOT-23W surface-mount or 3pin mini single in-line package for through-hole mounting – both are Pb-free with 100% matt-tin frame plating.
Foreseen applications include:
- Open/close/latch sensors for car doors, lids, boots, LCD screens, interior lighting
- Gear stick, pedals, and human-machine interfaces
- Fluid level sensing
- Tip-over (lean angle) and kickstand sensing for two-wheeled vehicles
- White goods or other appliances
- Robotics, vending machines and exercise equipment, as well as motorised blinds, shades and shutters
